|
成功研制以龙芯为内核的税控SOC芯片

概述
税控SoC专用芯片是一款基于GB/T 18240系列标准(参见附录A),集成精简的32位“龙芯1”及外围接口控制模块的专用芯片。
该税控SoC专用芯片以“龙芯1”RISC CPU作为MCU,采用AHB(the Advanced High performance Bus)+APB(the Advanced Peripheral Bus)为片上总线,集成的其余IP模块如表所示。
序号 |
IP名称 |
功能 |
总线接口 |
1 |
SDRAM控制器 |
支持SDRAM作为系统主存 |
AHB |
2 |
ROM/Flash控制器 |
支持Flash作为电子盘 |
3 |
LCD Driver |
驱动营业员的液晶显示屏 |
4 |
10/100Mbps MAC |
支持网络报税 |
5 |
USB 1.1 |
支持USB的电子扫描枪与电子秤(2个端口) |
6 |
SPI |
支持客户VFD屏 |
APB |
7 |
PS/2 |
支持PS/2的键盘与鼠标 |
8 |
UART |
支持串口设备(3个端口),如外接Modem |
9 |
ISO 7816 |
支持税控/用户/税务管理IC卡 |
10 |
I2C |
支持实时时钟RTC |
11 |
Timer |
作为系统资源的定时器 |
12 |
Watchdog |
支持系统死机时自动复位 |
13 |
中断控制器 |
支持外部与内部中断 |
14 |
GPIO |
支持扩展外设 |
税控SoC中集成的IP模块(除MCU外)
技术特征
该芯片的主要技术特征如下:
- 精简的“龙芯1”CPU核
- 32位 RISC CPU
- 五级指令流水
- 8K两路组相联指令Cache与8K两路组相联数据Cache
- EJTAG在线调试
- 片上OHB总线支持:
- 猝发式传输
- 分离事务
- 单拍总线主移交
- 单时钟边沿操作
- 非三态门实现
- 较宽(64/128位)的数据总线配置
- 片上OPB总线支持:
- 不支持猝发式传输
- 一次事务中,地址与控制信号有效
- 在外围总线处于非激活状态时,接口没有功耗
- 通过译码选通来提供计时
- 整个访问中,写数据有效
- 片上64K字节的SRAM
- SDRAM支持:
- 最大支持256MB
- 兼容PC 100/133,工作频率与系统总线的时钟同频
- 可编程的猝发(Burst)长度:1,2,4,8字节与整页
- 支持顺序(Sequential)访问
- 字节使能访问
- 支持SDRAM的模式寄存器配置。
- 方便灵活的访问SDRAM的主接口
- 透明的SDRAM刷新控制
- 透明的SDRAM换行控制
- 在串行方式读写时,连续的块数据访问之间无需额外周期的开销
- SDRAM控制器支持部分字的写原子操作,即读—改—写中间不可打断
- 支持通过本地ROM或Flash引导系统:
- 最大支持64MB
- 数据宽度可以通过配置设为×8或×16
- 支持以块为单位的写、擦除
- 支持读数据和读产品ID
- 低功耗设计考虑,没有命令时,Flash及控制器自动进入待机(Standby)模式
- 支持Deep Power Down模式,使用此模式可以使Flash进一步降低功耗
- LCD 驱动器
- 彩色/单色/灰度LCD面板
- 支持单/双扫描显示
- 片上64K SRAM或系统内存作为显存
- 专用DMA视频数据通道
- 可编程显示屏大小
- 16个灰度等级
- 256彩色
- 10/100Mbps MAC
- 完成IEEE 802.3 MAC层功能
- 32-bit CRC自动生成与校验
- 前置符生成与删除
- 全双工支持
- 10/100 Mbps自适应
- 支持流量控制
- 在半双工时,支持碰撞检测与重发(CSMA/CD)协议
- IEEE 802.3传输介质无关接口(MII)
- 内部RAM 容纳128个 TX/RX缓冲描述符
- 支持中断方式产生事件
- USB 1.1
- 支持低速(1.5Mbps)与全速(12Mbps)两种模式
- 内置DMA通道
- 串行外围接口(SPI)
- 可配置主从模式
- 从模式选择输出
- 模式故障产生错误标志并发出中断请求
- 双缓冲接收器
- 极性和相位可编程的串行时钟
- 可在等待模式下对SPI进行控制
- PS/2接口
- 支持PS/2键盘接口
- 支持PS/2鼠标接口
- UART接口
- 仅工作在FIFO方式
- 在寄存器与功能上兼容NS16550A
- ISO 7816接口
- 半双工操作
- 1个发送缓冲+1个接收缓冲
- 13位波特率选择
- 1/16 bit-time噪声检测
- I2C接口
- 履行双向同步串行协议
- 能够实现多主的操作
- 总线的时钟频率可编程
- 可以产生开始/停止/应答等操作
- 能够对总线的状态进行探测
- 与PHILIPS I2C标准相兼容
- 中断控制器
- 支持软件设置中断
- 支持电平与边沿触发
- 支持中断屏蔽与使能
- GPIO
- GPIO的位数多达48位
- 支持位操作
- 定时器
- 16位计数器及计数器始化寄存器
- 可选择自由计时或倒计时
- 16个可选分频值 — 20 至 215
- 看门狗
- 16比特计数器及初始化寄存器
- 低功耗模式暂停功能
- 其它
- 片上时钟管理
- 芯片复位配置支持
- 芯片掉电管理
结构框图
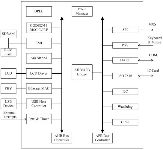
SoC的结构框图如图所示。FCR_SOC采用了AHB加APB的两级总线结构,采用完全同步设计,不支持三态总线,采用分开、单向的读写数据总线。AHB总线用来支持高速设备,地址总线宽度为32位,数据总线宽度支持8,16,32位;支持多主从设备。APB用来支持基于寄存器访问的低速设备。地址总线宽度为12位,寻址空间为4K,数据总线宽度为8位;除了总线桥外,其余的IP核均为从设备;只支持单字节访问。AHB与APB两条总线通过总线桥连接在一起,实现两条总线之间的协议转换。

税控SoC体系结构
附录A 税控收款机系列标准
税控收款机系列标准(如下表A.1所示:)发布于2003年6月25日,并于同年10月1日正式实施。
序号 |
名称 |
编号 |
1 |
税控收款机第1部分:机器规范 |
GB 18240.1-2003 |
2 |
税控收款机第2部分:税控IC卡规范 |
GB 18240.2-2003 |
3 |
税控收款机第3部分:税控器规范 |
GB 18240.3-2003 |
4 |
税控收款机第4部分:银行卡受理设备规范 |
GB 18240.4-2003 |
5 |
税控收款机第5部分:税控打印机规范 |
GB 18240.5-2003 |
6 |
税控收款机第6部分:设备编码规范 |
GB 18240.6-2003 |
表A.1:税控收款机系列标准
|